文|新浪财经上海站 十里配资平台是否支持验证
创业近30年后,创业慧康还是走到了控股股东易主这一步。
4月10日,创业慧康公告称,公司控股股东变更为杭州更好智投管理咨询合伙企业(有限合伙),公司仍处于无实际控制人状态。根据公告,杭州更好直接持有公司6.23%股份,并通过表决权委托、一致行动安排等方式,合计控制12.64%股份对应的表决权。随着其提名的6名董事在董事会换届中全部当选,创业慧康控制权正式完成切换。
对创业慧康来说,这不是一次突然发生的易主。公司前身为创业软件,1997年由葛航创办,2015年登陆创业板,2019年更名为创业慧康。很长一段时间里,葛航既是创始人,也是这家杭州老牌医疗信息化企业最鲜明的个人标签。如今控股股东变更,真正值得追问的,不只是杭州更好如何上位,而是葛航为何会一步步退到台后。
配资炒股
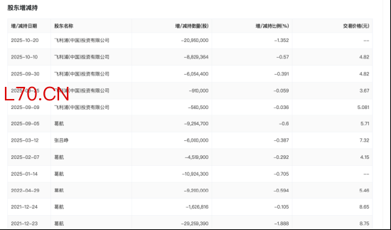
变化最早出现在2022年。彼时,飞利浦通过协议受让方式拿下创业慧康10.0016%股份,交易总价12.245亿元。这笔交易当时被外界更多解读为战略入股,但它对公司最直接的影响,是原有股权结构开始松动。到2023年8月,创业慧康进一步公告称,公司已变更为“无控股股东、无实际控制人”状态。换句话说,在杭州更好入场之前,葛航对公司的稳定控制实际上已经被打破。
2025年下半年,公司一边是葛航减持、协议转让,一边是杭州更好推进受让和董事会重组,飞利浦则是通过多次减持从10%以上降到了7.62%。
公开披露显示,葛航先后减持、协议转让股份,并出现部分股份被冻结等情况。其中,一笔协议转让显示,葛航拟转让4000万股股份,转让价格为3.85元/股,总价约1.54亿元,转让价款用途被明确写为归还股票质押融资债务。对于一家创始人色彩浓厚的上市公司而言,这已经不是普通的持股调整,而是股权压力开始显性化。
元股证券:ygzq.hk杭州更好正是在这一阶段进入。2025年11月,杭州更好与葛航签署股份转让协议,受让其所持6.23%股份;随后又通过表决权委托和一致行动安排,进一步扩大表决权范围。2026年2月完成过户后,杭州更好开始提名董事人选;4月10日,公司完成董事会换届,其提名的4名非独立董事和2名独立董事全部当选,占据董事会半数以上席位,控股股东身份随之确认。
值得注意的是,这次控制权切换并没有伴随经营层的整体出清。换届后,张吕峥继续担任董事长,林贤雅出任联席董事长,胡燕则在不再担任董事的同时续任董事会秘书,并新任副总经理。新股东进入,老团队并未整体离场,创业慧康呈现出的不是简单“换老板”,而是控制权重构后的重新分工。
这也意味着,杭州更好接过来的,并不是一家处在顺风期的公司。
创业慧康披露的2025年业绩报告显示,公司预计全年归属于上市公司股东的净利润亏损4.01亿元,扣除非经常性损益后的净利润亏损4.11亿元,亏损较上年同期扩大。对一家曾踩中医疗信息化建设红利、并在资本市场完成过扩张叙事的老牌企业来说,这样的业绩表现显然谈不上轻松。
从这个角度看,创业慧康这次控股股东变更,写的并不只是一次股权交接,而是一代创始人影响力的退潮过程。飞利浦入局,公司转入无实控人状态,葛航股权压力上升,杭州更好完成董事会层面的落子,几条线最终在4月10日交汇。
对市场而言,控股股东是谁,答案已经明确。接下来更关键的问题是,杭州更好拿下控制权之后,创业慧康能否在治理重组之外,把经营端也一起拉回正轨。
海量资讯、精准解读,尽在新浪财经APP
责任编辑:常福强 配资平台是否支持验证
环宇证券|江苏省可查的网上配资平台提示:本文来自互联网,不代表本网站观点。